有效针对外贸业务场景
立即查看 >
数字化外贸综合营销决策平台
请完善以下信息,以便为您安排演示或样本
已自动分配售前顾问为您服务。请添加微信,更快获取项目案例和报价
EN

作为“亚洲四小虎”之一的马来西亚,境内具有非常多的自然资源,是全球第五大液化天然气出口国,世界上第三大天然橡胶出口国。中国与马来西亚长期以来都保持着友好合作的关系,已陆续在13年成为马来西亚最大的贸易伙伴。很多外贸人都想要顺利获得开发马来西亚市场来取得较大的利润,接下来我们就详细介绍一下如何开发马来西亚市场。

马来西亚是东南亚国家之一,位于马来半岛和婆罗洲,拥有富饶的自然资源和多元文化。该国的首都是吉隆坡,官方语言为马来语,但英语也被广泛使用。
马来西亚是东南亚第三大经济体,国民富足,年轻人口众多,对中国商品非常喜欢。
人口3200多万,25岁以下年轻人口占比43%。人均收入1万美元,仅次于新加坡,与中国水平相当。
马来西亚的经济主要依靠出口,其主要出口商品包括电子产品、石油和天然气、木材、橡胶和棕榈油等。该国的主要进口商品包括机械设备、化工产品、电子产品和金属及金属制品等。
马来西亚是全球最大的橡胶生产国之一,也是世界领先的棕榈油生产国。该国在电子产品方面也具有竞争力,拥有大量的电子制造企业和研发中心。此外,马来西亚的旅游业也是其重要的经济支柱之一。
马来西亚的进出口贸易额在世界范围内处于较高水平,与中国、美国、新加坡、日本等国家和地区的贸易往来较为密切。马来西亚是中国在“一带一路”沿线的第二大贸易伙伴。2022年,中国与马来西亚双边贸易额达2035.9亿美元,同比增长15.3%。其中,中国对马出口937.11亿美元,同比增长19.7%;中国从马来进口1098.78亿美元,同比增长11.8%。从贸易规模看,中国是马来西亚最大的贸易伙伴国。

从贸易商品结构看,2022年,中国对马来西亚出口主要是机电、音像设备及其零件、附件,贱金属及制品,纺织原料及纺织制品。其中,机电音像制品出口375.12亿美元,同比增长16.7%;贱金属及制品出口83.37亿美元,同比增长19.95%;家具等杂项制品出口68.6亿美元,同比增长18.7%;纺织原料及制品出口67.39亿美元,同比增长4.5%。

中国从马来西亚进口的主要产品是电机、电气、音像设备及其零附件,矿产品,贱金属及制品,化学工业品,塑料及制品等。其中,机电音像制品进口483.47亿美元,同比下跌2.6%;矿产品进口397.25亿美元,同比增长54.8%;贱金属及制品进口53.84亿美元,同比下跌18.05%。

根据k8凯发国际数据分析,2022年中国出口马来西亚交易趋势,除了传统春节2月交易是平时的一半量,其余每月比较平稳,在年中6月略有上涨,其余没有明显的淡季旺季之分。
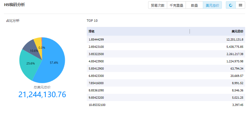
2022年中国出口马来西亚涉及6119多个八位编码产品,其中机电、音像设备及零配件以海关编码85大类为主,具体涉及105个八位编码。
其中以海关编码85大类为例:集成电路电机等产品出口尤为出众,出口美元总值257多亿美元。

图:马来西亚进口85类产品进口商 ARROW ELECTRONICS ASIA S PTE LTD

图:ARROW ELECTRONICS ASIA S PTE LTD此公司85类进口占比

图:ARROW ELECTRONICS ASIA S PTE LTD此公司采购人联系方式


图:更多马来西亚85类产品进口商
中国和马来西亚之间的主要贸易商品除了电子产品之外,机械设备、化工产品、农产品和木材等也是重点。其中,中国向马来西亚出口的主要商品是电子产品、机械设备和化工产品,而马来西亚向中国出口的主要商品是天然橡胶、石化产品和木材等。随着消费的带动,更多的中国品牌也入驻马来西亚并占有市场。
小腾在马来西亚市场看到,比较成功植入当地的中国消费品牌包括:华为、小米、OPPO、美的、海尔、联华超市、伊利的泰山牛奶、今飞凯达等,这些品牌和公司在不同的领域都有很强的竞争力和影响力,也都在不断地努力提高自己的品质,并在马来西亚市场上扩大自己的业务规模。而中国销往越南、印度、俄罗斯等地的商品也会较多的继而转售给马来西亚。
1、见面礼仪
马来西亚人在见面时喜欢以握手来表达友好,但是有些信奉回教的马来西亚妇女,不喜欢有肢体接触,特别是见到陌生的男人时,只会点头或微笑来表示友好。
2、拜访礼仪
马来西亚人非常注重个人时间,如拜访马来西亚本地人,要在去之前致电对方,约好时间再上门,在进入屋子前要先脱去自己的鞋子。
3、宗教礼仪
马来西亚人多信奉回教,由于回教规定教徒不能喝酒,所以马来西亚人,都不饮用带酒精的饮品。同时在进入马来西亚的清真寺或庙时,要脱掉自己的鞋子,有些一些清真寺还会要求女性参观者佩戴长袍和头巾。
4、饮食方面
马来人禁烟,不吃猪肉、死物或动物血液。以米饭、糯米糕点等为主食,用餐习惯是用右手抓饭进食。
5、其他禁忌
不可用食指指人,若要指示方向只能用拇指,与马来人打招呼、握手、馈献礼品或接物时不可用左手,用左手接物或打招呼会被认为对他们不敬。
马来人忌讳别人触摸其头部,除了教师或宗教仪式外,不要把脚底展露在他人面前,用脚底对着人是对别人的侮辱。
➤ 主要节假日:
· 1月1日:新年· 3月1日:登霄节· 4月15日:耶稣受难日· 4月17日:复活节· 5月3日:开斋节· 5月30日:丰收节· 7月10日:宰牲节· 8月31日:国庆节· 9月16日:马来西亚日
· 12月25日:圣诞节
总的来说,中国和马来西亚之间的贸易协定签署后,在过去几年中不断保持良好的开展趋势,并且随着两国政府之间的合作不断加强,未来的贸易前景也非常乐观。
